品牌元件·達孚制造
NTC溫度傳感器是一種熱敏電阻、探頭,其原理為:電阻值隨著溫度上升而迅速下降。其通常由2或3種金屬氧化物組成, 混合在類似流體的粘土中,并在高溫爐內鍛燒成致密的燒結陶瓷。實際尺寸十分靈活,它們可小至0.010英寸或很小的直徑。大尺寸幾乎沒有限制,但通常適用半英寸以下。
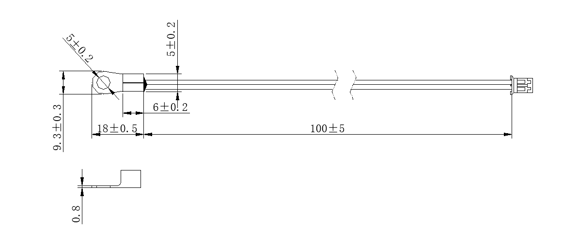
外形尺寸:

特點:
●靈敏度高,響應速度快
●阻值和B值精度高,一致性互換性好
●采用雙層包封工藝,具有良好的絕緣密封性和抗機械碰撞,抗彎折能力
●結構簡單靈活,可根據客戶不同設稈要求定制
產品應用范圍:
●空調,冰箱,冷柜,熱水器,飲水機,暖風機,洗碗機,消毒柜,洗衣機,烘干機以及中低溫干燥箱,恒溫箱等場合的溫度測量與控制。
●汽車空調,水溫傳感器,進氣溫度傳感器,發動機。
●開關電源,UPS不間斷電源,變頻器,電鍋爐等。
●智能馬桶,電熱毯等。